联系电话:
0523-8733 8088
产品详情
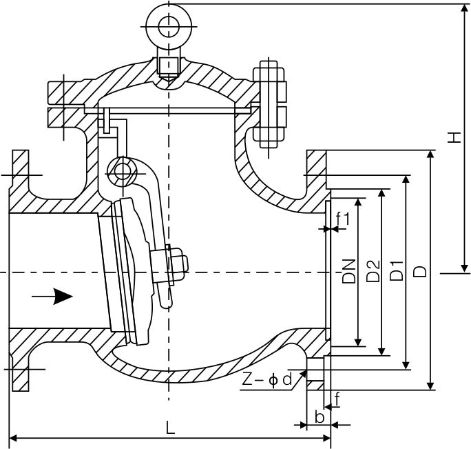
国标旋启式止回阀适用于压力PN1.6-42.0MPa,工作温度-29℃~570℃的石油、化工、制药、化肥、电力行业等各种工况的管路上,防止介质的倒流。
◆产品结构紧凑、密封可靠、性能优良、造型美观;
◆密封面堆焊Co基硬质合金,耐磨、耐蚀、抗擦伤性能好、使用寿命长;
◆内装式的销轴结构,减小外泄漏点,使用可靠;
◆当压力≥16.0MPa时,阀门中腔采用自紧式密封结构,介质压力越高,密封性能越好;
◆零件材质及法兰、对焊端尺寸可根据实际工况或用户要求合理选配,满足各种工程需要。






